
Zbiorniki hydroforowe ocynkowane - HVP
Zbiorniki hydroforowe typu HVP wykonane są z blachy stalowej niskowęglowej ocynkowanej ogniowo. Przeznaczone są do magazynowania wody do celów spożywczych lub przemysłowych, zasilania w wodę budynków mieszkalnych i gospodarczych z własnego ujęcia wody ( studnie ocembrowane, wiercone, głębinowe ), do systemów nawodnieniowych ogrodów, domków letniskowych. W połączeniu z pompami samozasysającymi lub głębinowymi tworzą automaty hydroforowe.
Zalety zbiorników hydroforowych HVP:
- wysoka jakość wykonania,
- wyjątkowa żywotność,
- bezpieczne w użytkowaniu i kontakcie z wodą pitną ( Atest PZH ).
Budowa zbiorników:
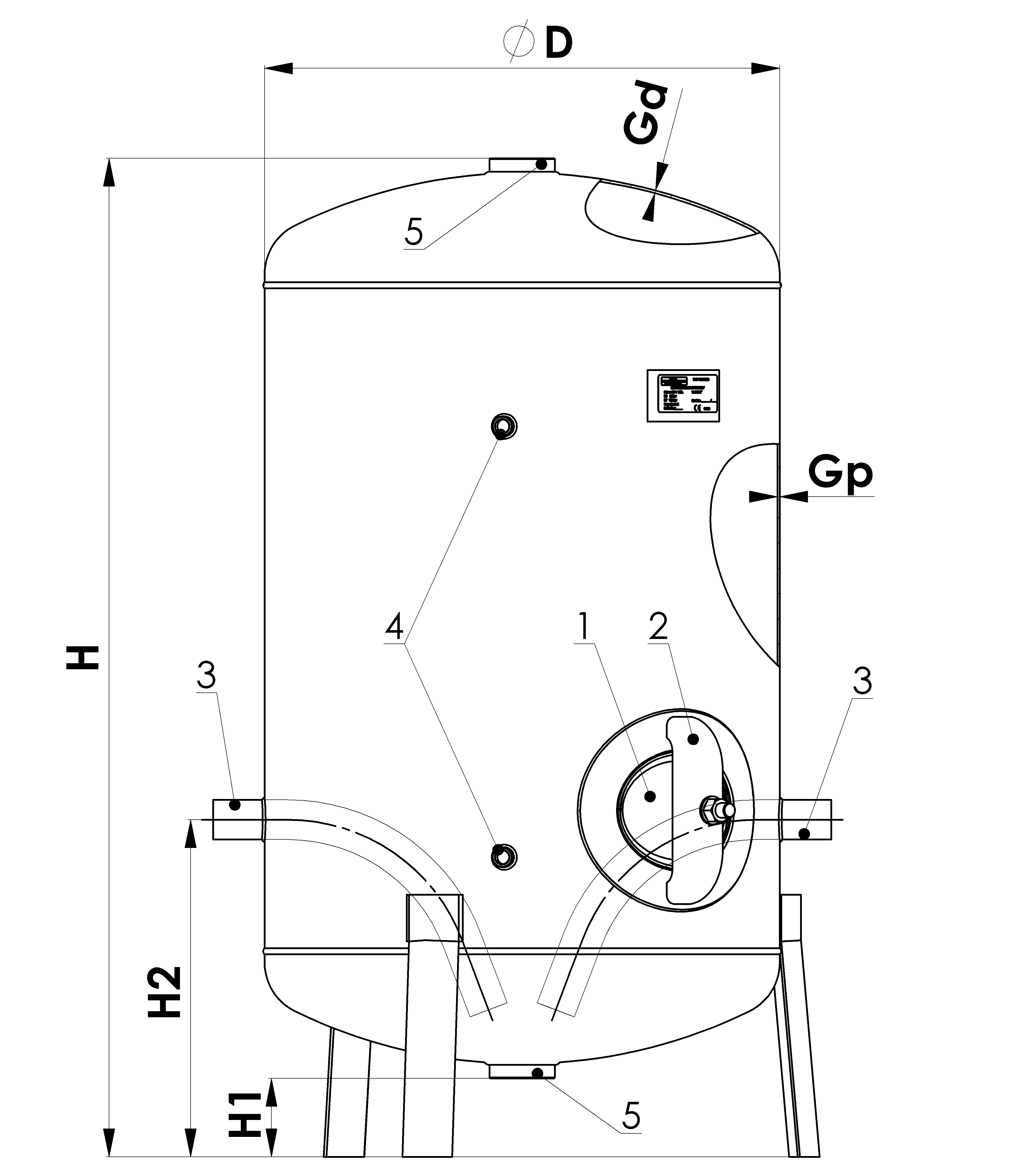
HVP 100/200/300/500/501 l.





Zadzwoń do nas w sprawie tego produktu
Lorem ipsum dolor sit med
tel. +48 56 688 15 91 w.37
Zadzwoń do nas w sprawie tego produktu
Lorem ipsum dolor sit med
tel. +48 56 688 15 91 w.37
Budowa zbiorników: HVP 100/200/300/500/501 l.

Budowa zbiorników: HVP 151/201/301 l.

Budowa zbiorników: HVP 1001/1500/2000 l.

Dane techniczne zbiorników HVP
|
Typ zbiornika |
Poj. |
Ø D |
H |
H1 |
H2 |
H3 |
Gp |
Gd |
Max ciśnienie |
Ciśnienie próbne |
T./min |
T./max |
Masa |
|
[l.] |
[mm] |
[bar] |
[oC] |
[kg] |
|||||||||
|
HVP 100/200/300/500/501 l. |
|||||||||||||
|
HVP 100 |
100 |
500 |
767 |
78 |
360 |
- |
2,5 |
2,5 |
9 |
13 |
6 |
20 |
40 |
|
HVP 200 |
200 |
550 |
1066 |
84 |
3,0 |
50 |
|||||||
|
HVP 300 |
300 |
1356 |
60 |
||||||||||
|
HVP 500 |
500 |
750 |
1439 |
91 |
425 |
6 |
8,6 |
81 |
|||||
|
HVP 501 |
500 |
4,0 |
4,0 |
10 |
14,3 |
- 10 |
50 |
129 |
|||||
|
HVP 151/201/301 l. |
|||||||||||||
|
HVP 151 |
150 |
500 |
967 |
72 |
280 |
360 |
2,2 |
2,5 |
6 |
8,6 |
6 |
20 |
45 |
|
HVP 201 |
200 |
550 |
1066 |
84 |
270 |
48 |
|||||||
|
HVP 301 |
300 |
1356 |
57 |
||||||||||
|
HVP 1001/1500/2000 l. |
|||||||||||||
|
HVP 1001 |
1000 |
908 |
1952 |
202 |
638 |
- |
4,0 |
4,0 |
8 |
11,4 |
6 |
20 |
200 |
|
HVP 1500 |
1500 |
1010 |
2335 |
240 |
700 |
5,0 |
5,0 |
10 |
15 |
290 |
|||
|
HVP 2000 |
2000 |
1210 |
2200 |
160 |
660 |
14,3 |
- 10 |
390 |
|||||
Anim pariatur cliche reprehenderit, enim eiusmod high life accusamus terry richardson ad squid. Three wolf moon officia aute, non cupidatat skateboard dolor brunch. Food truck quinoa nesciunt laborum eiusmod brunch three wolf moon tempor.

